

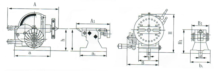
| Model | A | B | H | h | a | b | g | Spindle hole | N.W.(kg) |
| BS-2 | 370 | 280 | 236 | 133 | 212 | 134 | 16 | MT4 | 73 |
| 370 | 280 | 236 | 133 | 212 | 134 | 16 | B&S10 |
| Model | A1 | B1 | H1 | h1 | a1 | b1 | g1 |
| BS-2 Tailstock | 183 | 87 | 156 | 133 | 175 | 122 | 16 |
| 183 | 87 | 156 | 133 | 175 | 122 | 16 |
| Number of holes | Plate A | 15 | 16 | 17 | 18 | 19 | 20 |
| Plate B | 21 | 23 | 27 | 29 | 31 | 33 | |
| Plate C | 37 | 39 | 41 | 43 | 47 | 49 |
Phone: 0086-18615009310
Tel: 0086-535-6266178
Email: felixtools@fmore-ma.com
Add: Yantai City,Shandong Province,P.R.China 264000