
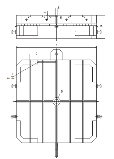
Precise face gears as positioning system; Clamped and Loosen by pneumatic air; Rotating by manual; Min. indexing angle 1° or 5°,accuracy 10"



Phone: 0086-18615009310
Tel: 0086-535-6266178
Email: felixtools@fmore-ma.com
Add: Yantai City,Shandong Province,P.R.China 264000